公司優勢Advantages
核心技術
以韓國前沿技術開發人員為核心的設計團隊
先進工藝
擁有8英寸VD-MOS晶圓廠
產品豐富
品類繁多,各行業應用廣泛
定制服務
調整MOSFET參數,為客戶量身定制
質量保證
一流設計,完善的質量跟蹤與監控體系

以韓國前沿技術開發人員為核心的設計團隊
擁有8英寸VD-MOS晶圓廠
品類繁多,各行業應用廣泛
調整MOSFET參數,為客戶量身定制
一流設計,完善的質量跟蹤與監控體系
碳化硅mos管
碳化硅二極管
場效應管
快恢復管
防反接保護電路: KIA50N03、KIA50N06
PWM驅動: KIA75NF75、KIA3510A、KIA40N20A
全橋電路: KIA830S、KIA830H、KIA840H、KIA840S
續流電路:KIA08TB70
MOSFET:
30V-60V
90A-200A
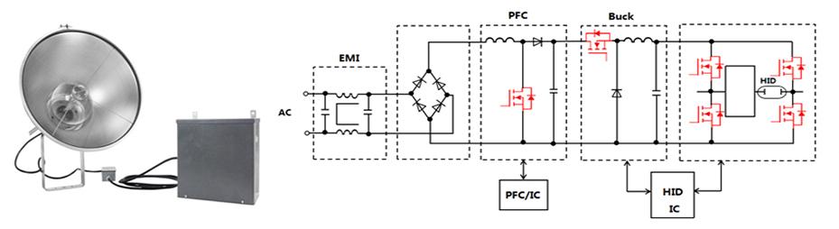
功率因數校正電路(POWER FACTOR CORRECTION)
DC-DC 開關電路(DC-DC BUCK CIRCUIT)
半橋/全橋電路(HALF-BRIDGE/FULL-BRIDGE CIRCUIT)